Als er één feature is die het afgelopen jaar in smartphoneland regelmatig als ‘innovatief’ werd beschreven, is het wel de mogelijkheid een toestel op te laden zonder kabel: het draadloze opladen, zogezegd. En nu – zo wordt er gefluisterd – is ook duidelijk dat de Samsung Galaxy S4 met een dergelijke technologie op de markt zal verschijnen. En natuurlijk geeft Samsung er haar eigen draai aan.

Laat ik beginnen met een kleine stukje geschiedenis: draadloos opladen is alles behalve nieuw. Drie jaar geleden beschikt de Palm Pre telefoon al over de mogelijkheid de batterij van het toestel op te laden door hem kabelloos bovenop de oplader te leggen. En vorig jaar kondigde Samsung een dergelijk systeem aan voor de Galaxy S3. Helaas zitten we nog steeds te wachten op de draadloze-oplaad-kit, die als accessoire te koop zou zijn (die van Samsung zelf althans, andere partijen brachten al wel een draadloze oplader voor de S3 op de markt). Verder zien we dat Nokia’s nieuwe Lumia 920 en LG’s Nexus 4 ook op te laden zijn zonder tussenkomst van zo’n ouderwetse kabel.
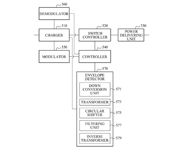
Maar nu het volgende. Samsung heeft het afgelopen jaar nog wat zitten knutselen in de schuur, en komt nu naar buiten met een systeem waarbij je zowel iets kunt opladen – iets als in: de Galaxy S4 – maar waarmee er ook nog communicatie mogelijk is tussen oplader en toestel. Samsung’s nieuwe foefje combineert dus een draadloos laadstation met de functionaliteit van een ‘desktop dock’. Ik stel me dan het volgende praktijkvoorbeeld voor: ik leg mijn Galaxy S4 op de oplader, en tegelijkertijd wordt het afspelen van muziek vanaf de telefoon automatisch doorgeschakeld naar de stereoinstallatie.

Zo werkt ‘ie dus (en nu niet er stiekem zelf eentje gaan bouwen!)
Wat betreft deze technologie in de Galaxy S4 zou ik zeggen: graag, stop er maar in! Aan de andere kant vraag ik me over draadloos laden altijd een beetje af of het wel écht zo handig is. De huidige technologie werkt tenslotte alleen als je telefoon op één vaste plek ligt: op de lader. Dan is een toestel aan een kabel van pakweg anderhalve meter een stuk mobieler. En zeg nou eerlijk: zoveel werk is het inpluggen van een kabel, of het in de dock klikken van het toestel toch ook niet? Misschien zijn er eigenare(sse)n van een Lumia 920 of Nexus 4 in de zaal die hieronder in de reacties hun ervaringen willen delen? Bijvoorbaat dank!
(via)
Wat dacht je van stekker die vernield worden en een enkele die de geest (op de soldeerpunten in de telefoon losgaat) geeft door het vele gebruik. Dan is draadloos toch een veel vriendelijkere oplossing. Trouwens Braun doet al vele jaren draadloos zijn tandenborstels opladen;-)
Loek